1 | Статор - Ротор - Блок AVR | Запчасти для генератора чемпион | GG3200EW | Поставка по России | Магазин-Сервис в СПБ |
2 | Панель | Запчасти для генератора чемпион | GG3200EW | Поставка по России | Магазин-Сервис в СПБ |
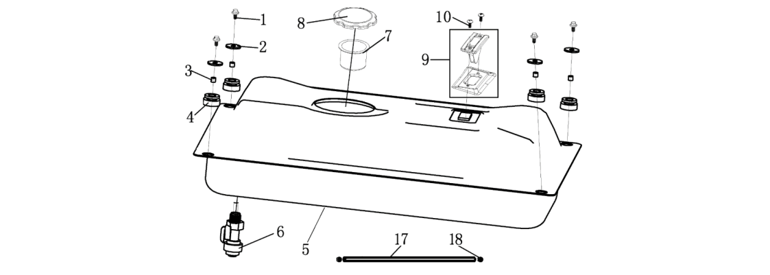
3 | Бак топливный | Запчасти для генератора чемпион | GG3200EW | Поставка по России | Магазин-Сервис в СПБ |
4 | Опора (виброизолятор) двигателя | Запчасти для генератора чемпион | GG3200EW | Поставка по России | Магазин-Сервис в СПБ |
5 | Цилиндр | Запчасти для генератора чемпион | GG3200EW | Поставка по России | Магазин-Сервис в СПБ |
6 | Поршень - Шатун - Коленвал - Распредвал | Запчасти для генератора чемпион | GG3200EW | Поставка по России | Магазин-Сервис в СПБ |
7 | Крышка картера | Запчасти для генератора чемпион | GG3200EW | Поставка по России | Магазин-Сервис в СПБ |
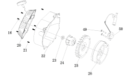
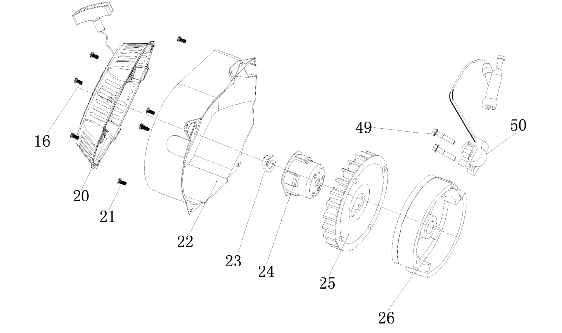
8 | Стартер - Магнето | Запчасти для генератора чемпион | GG3200EW | Поставка по России | Магазин-Сервис в СПБ |
9 | Головка цилиндра - Клапана | Запчасти для генератора чемпион | GG3200EW | Поставка по России | Магазин-Сервис в СПБ |
10 | Карбюратор | Запчасти для генератора чемпион | GG3200EW | Поставка по России | Магазин-Сервис в СПБ |
11 | Корпус воздушного фильтра | Запчасти для генератора чемпион | GG3200EW | Поставка по России | Магазин-Сервис в СПБ |
12 | Глушитель | Запчасти для генератора чемпион | GG3200EW | Поставка по России | Магазин-Сервис в СПБ |
13 | Рычаг регулятора оборотов | Запчасти для генератора чемпион | GG3200EW | Поставка по России | Магазин-Сервис в СПБ |
14 | Стартер с реле | Запчасти для генератора чемпион | GG3200EW | Поставка по России | Магазин-Сервис в СПБ |
Масло, смазка для генератора | Чемпион GG3200EW | Магазин Service - Champion