Назад

8 | Стартер - Магнето | Запчасти для генератора чемпион | GG2801| Поставка по России | Магазин-Сервис в СПБ |

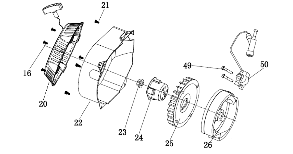
Ссылка Артикул Наименование детали Используется штук Количество Цена
16 4665270189686-0016

Болт
Используется в агрегатах

Недоступен к заказу

20 DA04J011E31

Стартер ручной
Используется в агрегатах

1148 i
21 4665270189686-0021

Болт
Используется в агрегатах

Недоступен к заказу

22 DBC020E31

Кожух
Используется в агрегатах

846 i
23 4665270189686-0022

Гайка крепления маховика
Используется в агрегатах

Недоступен к заказу

24 DAJ001

Стакан маховика
Используется в агрегатах

238 i
25 DA05C008

Крыльчатка маховика
Используется в агрегатах

238 i
26 DAD003

Маховик
Используется в агрегатах

1641 i
49 4665270189686-0043

Болт
Используется в агрегатах

Недоступен к заказу

50 110080040101

Магнето
Используется в агрегатах

751 i