Назад

10 | Глушитель | Запчасти для генератора чемпион | GG5000 | Поставка по России | Магазин-Сервис в СПБ |

Ссылка Артикул Наименование детали Используется штук Количество Цена
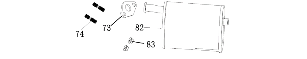
73 3048081000100

Прокладка глушителя
Используется в агрегатах

38 i
74 4665270189648-0070

Шпилька
Используется в агрегатах

Недоступен к заказу

82 4665270189648-0076

Глушитель
Используется в агрегатах

3199 i
83 4665270189648-0077

Гайка
Используется в агрегатах

Недоступен к заказу