Назад
123

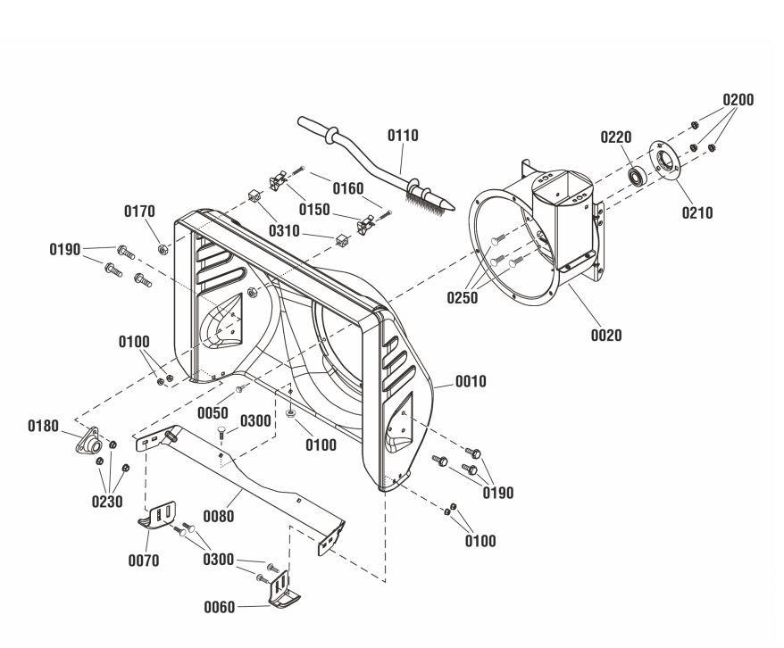
ST661BS снегоуборщик | Поставка запчастей по России | Магазин-Сервис Champion в СПБ |