Назад

9 РЕДУКТОР | Запчасти для снегоуборщика чемпион ST661BS | Поставка по России | Магазин-Сервис в СПБ |

Ссылка Артикул Наименование детали Используется штук Количество Цена
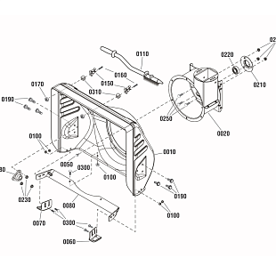
0010 1751402YP

SHAFT, Impeller
Используется в агрегатах

17952 i
0030 1751419YP

SHAFT, Auger
Используется в агрегатах

5156 i
0040 580295MA

COLLAR, Thrust, 3/4 x 1-1/4
Используется в агрегатах

2407 i
0050 454565MA

PIN, Spring, 1/4 x 1-1/4
Используется в агрегатах

991 i
0060 48275MA

WASHER, Thrust
Используется в агрегатах

1048 i
0070 50684MA

BEARING, Roll Thrust, 3/4 ID x 1-1/4 OD
Используется в агрегатах

1352 i
0080 50304MA

BEARING, Flange, 3/4 ID x 1 OD
Используется в агрегатах

1167 i
0090 9566MA

SEAL, Oil
Используется в агрегатах

773 i
0100 50221MA

BEARING, Flange, 1/2 ID x 3/4 OD
Используется в агрегатах

803 i
0110 10576MA

CASE, Gear, LH
Используется в агрегатах

2694 i
0120 10577MA

CASE, Gear, RH
Используется в агрегатах

2694 i
0130 9344MA

SCREW, Hex Washer Head, Tap, 3/8-16 x 1/2
Используется в агрегатах

1048 i
0150 431787MA

KEY, Woodruff
Используется в агрегатах

943 i
0160 1752499YP

GEAR, Worm
Используется в агрегатах

4203 i
0170 15X143MA

NUT, Flange Lock, 1/4-20
Используется в агрегатах

952 i
0180 51279MA

GASKET
Используется в агрегатах

1683 i
0190 710025MA

CAPSCREW, 1/4-20 x 3/4, GR5
Используется в агрегатах

933 i